Магазин запчастей для бытовой техники - Arlos
Москва
close
Выберите ваш регион
АбаканАлександровАльметьевскАнгарскАрзамасАрмавирАртемАрхангельскАстраханьАчинскБалаковоБалашихаБеларусьБелгородБердскБерезникиБийскБлаговещенскБратскБрянскВеликий НовгородВидноеВладивостокВладикавказВладимирВолгоградВолгодонскВолжскийВологдаВолховВоркутаВоронежВоскресенскВыборгГатчинаГеленджикГрозныйДедовскДербентДзержинскДзержинскийДимитровградДмитровДолгопрудныйДомодедовоДонецкЕвпаторияЕгорьевскЕкатеринбургЕлецЕссентукиЖелезногорскЖелезнодорожныйЖуковскийЗеленоградЗлатоустИвановоИвантеевкаИжевскИркутскИстраЙошкар-ОлаКазаньКалининградКалугаКаменск-УральскийКамышинКаспийскКемеровоКерчьКировКисловодскКлинКовровКоломнаКомсомольск-на-АмуреКопейскКоролёвКостромаКотельникиКрасногорскКраснодарКраснознаменскКрасноярскКурганКурскКызылЛенинск-КузнецкийЛипецкЛобняЛыткариноЛюберцыМагнитогорскМайкопМалаховкаМахачкалаМиассМоскваМурманскМуромМытищиНабережные ЧелныНазраньНальчикНаро-ФоминскНахабиноНаходкаНевинномысскНефтекамскНефтеюганскНижневартовскНижнекамскНижний НовгородНижний ТагилНовокузнецкНовокуйбышевскНовомосковскНовороссийскНовосибирскНовоуральскНовочебоксарскНовочеркасскНовошахтинскНовый УренгойНогинскНорильскНоябрьскОбнинскОдинцовоОктябрьскийОмскОрелОренбургОрехово-ЗуевоОрскПавловский ПосадПензаПервоуральскПермьПетрозаводскПетропавловск-КамчатскийПодольскПрокопьевскПсковПушкиноПятигорскРаменскоеРеутовРостов-на-ДонуРубцовскРыбинскРязаньСакиСалаватСамараСанкт-ПетербургСаранскСаратовСевастопольСеверодвинскСеверскСергиев ПосадСерпуховСимферопольСмоленскСосновый БорСочиСтавропольСтарый ОсколСтерлитамакСтупиноСургутСызраньСыктывкарТаганрогТамбовТверьТихвинТольяттиТомилиноТомскТроицкТулаТюменьУлан-УдэУльяновскУссурийскУсть-ИлимскУфаУхтаФеодосияФрязиноХабаровскХанты-МансийскХасавюртХимкиЧебоксарыЧелябинскЧереповецЧеркесскЧеховЧитаШахтыЩелковоЭлектростальЭлистаЭнгельсЮжно-СахалинскЯкутскЯлтаЯрославль
  • - бесплатно по РФ
    Автоперезвон. Работает по принципу: Вы позвонили на номер, мы сбрасываем звонок и перезваниваем через 3 секунды.
  • - по Москве
  • 8 (925) 663-83-63

Call-центр

пн-вс: 10:00-19:00

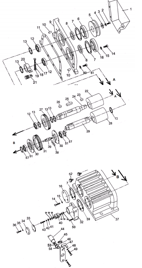
2 ДВИГАТЕЛЬ - ВИБРАТОР - ПЛОЩАДКА ВИБРОПЛИТА CHAMPION PC1645RH

NАртикулНазваниеСрок отгрузкиЦенаКупить
1 300024-1 Кожух ремня 5-7 рабочих дней
2 300024-2 Болт М8х20 5-7 рабочих дней
3 300024-3 Шайба 8 5-7 рабочих дней
4 300024-4 Шайба 8 5-7 рабочих дней
5 300024-5 Шкив ремня 5-7 рабочих дней
6 300024-6 Крышка подшипника 5-7 рабочих дней
7 300024-7 Прокладка крышки 5-7 рабочих дней
8 300024-8 Сальник 28х50х10 5-7 рабочих дней 627 р.
9 300024-9 Крышка корпуса вибратора 5-7 рабочих дней
10 300024-10 Шплинт 8 5-7 рабочих дней
11 300024-11 Прокладка крышки вибратора 5-7 рабочих дней
12 300024-12 Подшипник NJ206 5-7 рабочих дней 2.059 р.
13 300024-13 Кольцо стопорное D42 5-7 рабочих дней 26 р.
14 300024-14 Болт М8х20 5-7 рабочих дней
15 300024-15 Шайба 8 5-7 рабочих дней
16 300024-16 Крышка подшипника 5-7 рабочих дней 1.626 р.
17 300024-17 Болт М10х65 5-7 рабочих дней 175 р.
18 300024-18 Шайба 5-7 рабочих дней 132 р.
19 300024-19 Гайка М10 5-7 рабочих дней
20 300024-20 Корпус подшипника 5-7 рабочих дней 1.547 р.
21 300024-21 Винт М20 5-7 рабочих дней 656 р.
22 300024-22 Эксцентрик вала ведущего 5-7 рабочих дней 3.836 р.
23 300024-23 Шпонка 8х20 5-7 рабочих дней 31 р.
24 300024-24 Вал вибратора ведущий 5-7 рабочих дней 3.695 р.
25 300024-25 Шпонка 12х50 5-7 рабочих дней 63 р.
26 300024-26 Шпонка 12х20 5-7 рабочих дней 63 р.
27 CNP300024-27 Шестерня ведущая вала вибратора 5-7 рабочих дней 4.731 р.
28 300024-28 Эксцентрик вала ведомого 5-7 рабочих дней 5.024 р.
29 CNP300024-29 Вал вибратора ведомый 5-7 рабочих дней 4.629 р.
30 300024-30 Плата ведомой шестерни вибратора 5-7 рабочих дней 2.112 р.
31 CNP300024-31 Шестерня ведомая вала вибратора 5-7 рабочих дней 4.538 р.
32 300024-32 Цилиндр 5-7 рабочих дней 3.695 р.
33 300024-33 Прокладка крышки цилиндра 5-7 рабочих дней
34 300024-34 Крышка цилиндра 5-7 рабочих дней
35 300024-35 Шайба 6 5-7 рабочих дней
36 300024-36 Болт М6х20 5-7 рабочих дней
37 300024-37 Корпус вибратора 5-7 рабочих дней 42.622 р.
38 300024-38 Вилка реверса 5-7 рабочих дней 596 р.
39 CNP300024-39 Вал реверса 5-7 рабочих дней 1.014 р.
40 300024-40 Втулка вала реверса 5-7 рабочих дней 660 р.
41 300024-41 Шайба 5х32х2,5 5-7 рабочих дней
42 300024-42 Шайба 5 5-7 рабочих дней
43 300024-43 Болт М5х16 5-7 рабочих дней
44 300024-44 Поводок вала реверса 5-7 рабочих дней 1.567 р.
45 300024-45 Соединительная муфта 5-7 рабочих дней 238 р.
46 300024-46 Сальник 20х30х6 5-7 рабочих дней 211 р.
47 300024-47 Кронштейн опорный троса реверса 5-7 рабочих дней 1.003 р.
48 300024-48 Шайба 10 5-7 рабочих дней
49 300024-49 Болт М10х25 5-7 рабочих дней
50 300024-50 Болт М8х25 5-7 рабочих дней
51 300024-51 Подшипник 16008 5-7 рабочих дней 1.034 р.
52 300024-52 Болт М14 5-7 рабочих дней
53 300024-53 Кольцо уплотнительное 5-7 рабочих дней 31 р.
54 300024-54,55,56 Подшипник втулки 5-7 рабочих дней
57 300024-57 Кольцо стопорное 5-7 рабочих дней 31 р.
58 300024-58 Кольцо стопорное 5-7 рабочих дней 31 р.
59 300024-59 Прокладка 5-7 рабочих дней
60 300024-60 Шайба 10 5-7 рабочих дней
61 300024-61 Болт М10х30 5-7 рабочих дней
Найдено товаров: 59
1
▲ Наверх
0
8 (925) 663-83-63

Call-центр

пн-вс: 10:00-19:00

НАЙТИ ПО МОДЕЛИ
Введите номер заказа
Введите номер своего заказа, что бы узнать его текущий статус.
Что бы получить доступ к расширенным функциям, пройдите не сложную регистрацию. Зарегистрироваться